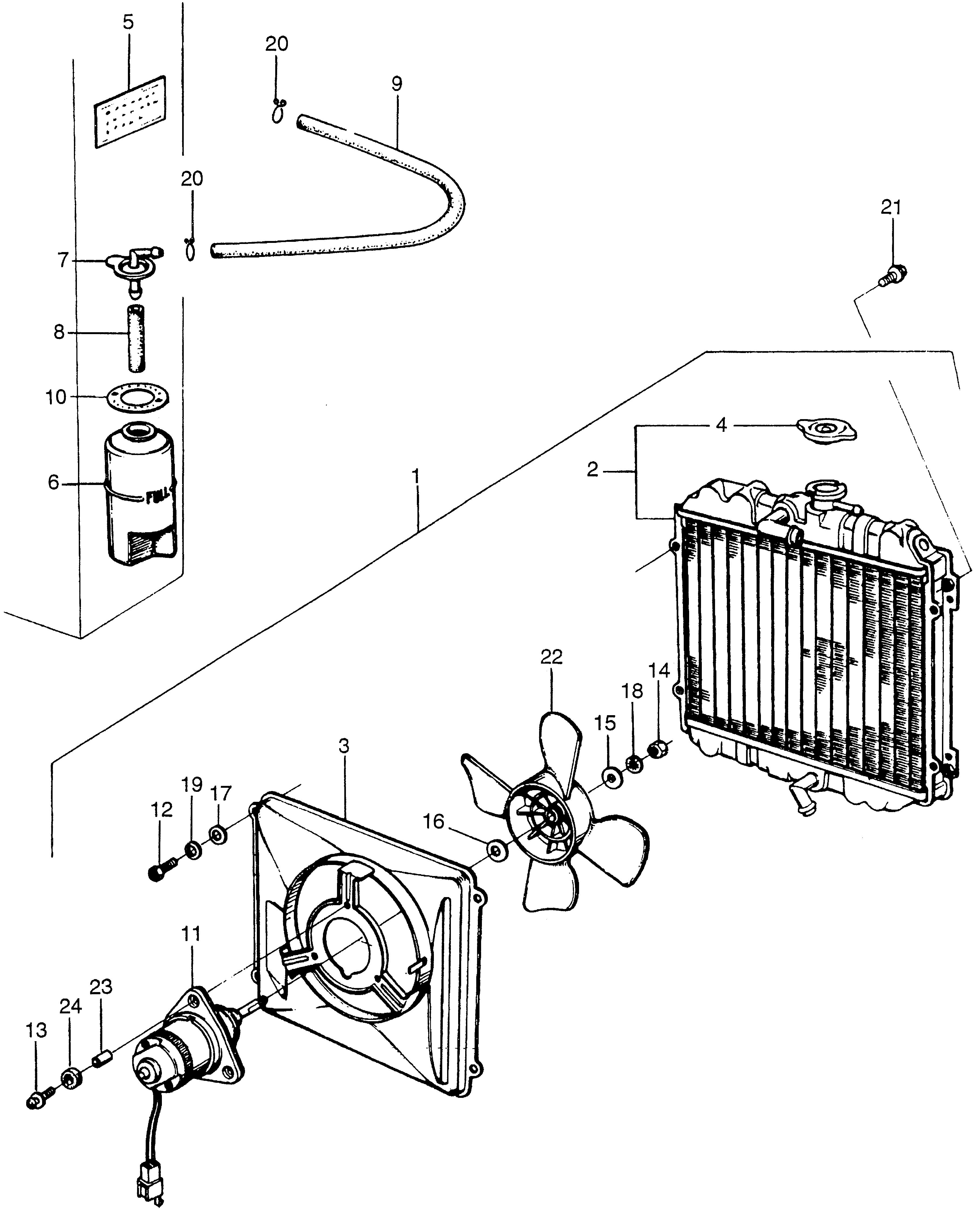
Ref No
Part Number
Description
Serial Range
Qty
Price
Ref No 1
Part Number 19000-862-023
Description RADIATOR ASSY.
Serial Range 1000001 - 9999999
Ref No 2
Part Number 19010-862-003
Description RADIATOR
Serial Range 1000001 - 9999999
Ref No 3
Part Number 19015-862-003
Description SHROUD, RADIATOR (NOT AVAILABLE)
Serial Range 1000001 - 9999999
Ref No 4
Part Number 19045-611-013
Description CAP (NOT AVAILABLE)
Serial Range 1000001 - 9999999
Ref No 5
Part Number 19047-634-670
Description LABEL, RADIATOR CAUTION (NOT AVAILABLE)
Serial Range 1000001 - 9999999
Ref No 6
Part Number 19101-657-000
Description TANK, RESERVOIR (NOT AVAILABLE)
Serial Range 1000001 - 9999999
Ref No 7
Part Number 19102-611-000
Description CAP, RESERVOIR TANK (NOT AVAILABLE)
Serial Range 1000001 - 9999999
Ref No 8
Part Number 19104-611-000
Description HOSE B, RESERVE
Serial Range 1000001 - 9999999
Ref No 9
Part Number 19104-862-000
Description TUBE, RESERVE
Serial Range 1000001 - 9999999
Ref No 10
Part Number 19105-634-010
Description MARK, RESERVE TANK (NOT AVAILABLE)
Serial Range 1000001 - 9999999
Ref No 11
Part Number 38616-634-811
Description MOTOR, FAN
Serial Range 1000001 - 9999999
Ref No 12
Part Number 92101-06020-0A
Description BOLT, HEX. (6X20)
Serial Range 1000001 - 9999999
Ref No 13
Part Number 93500-04018-0H
Description SCREW, PAN (4X18)
Serial Range 1000001 - 9999999
Qty
Price $1.46
Add To Cart
Ref No 14
Part Number 94001-05080-0S
Description NUT, HEX. (5MM)
Serial Range 1000001 - 9999999
Qty
Price $1.76
Add To Cart
Ref No 15
Part Number 94101-05800
Description WASHER, PLAIN (5MM)
Serial Range 1000001 - 9999999
Qty
Price $1.68
Add To Cart
Ref No 16
Part Number 94101-06800
Description WASHER, PLAIN (6MM)
Serial Range 1000001 - 9999999
Qty
Price $1.20
Add To Cart
Ref No 16
Part Number 94101-06800
Description WASHER, PLAIN (6MM)
Serial Range 1000001 - 9999999
Qty
Price $1.20
Add To Cart
Ref No 17
Part Number 94101-06800
Description WASHER, PLAIN (6MM)
Serial Range 1000001 - 9999999
Qty
Price $1.20
Add To Cart
Ref No 17
Part Number 94101-06800
Description WASHER, PLAIN (6MM)
Serial Range 1000001 - 9999999
Qty
Price $1.20
Add To Cart
Ref No 18
Part Number 94111-05800
Description WASHER, SPRING (5MM)
Serial Range 1000001 - 9999999
Qty
Price $1.93
Add To Cart
Ref No 19
Part Number 94111-06800
Description WASHER, SPRING (6MM)
Serial Range 1000001 - 9999999
Qty
Price $1.93
Add To Cart
Ref No 20
Part Number 95002-70000
Description CLIP, TUBE (C11)
Serial Range 1000001 - 9999999
Qty
Price $2.80
Add To Cart
Ref No 21
Part Number 95701-06012-00
Description BOLT, FLANGE (6X12)
Serial Range 1000001 - 9999999
Qty
Price $2.77
Add To Cart
Ref No 22
Part Number N022770-0050
Description FAN, COOLING (NOT AVAILABLE)
Serial Range 1000001 - 9999999
Ref No 23
Part Number N949194-0040
Description COLLAR (DENSO) (NOT AVAILABLE)
Serial Range 1000001 - 9999999
Ref No 24
Part Number 19041-611-003
Description RUBBER, BUSHING
Serial Range 1000001 - 9999999
Qty
Price $59.11
Add To Cart