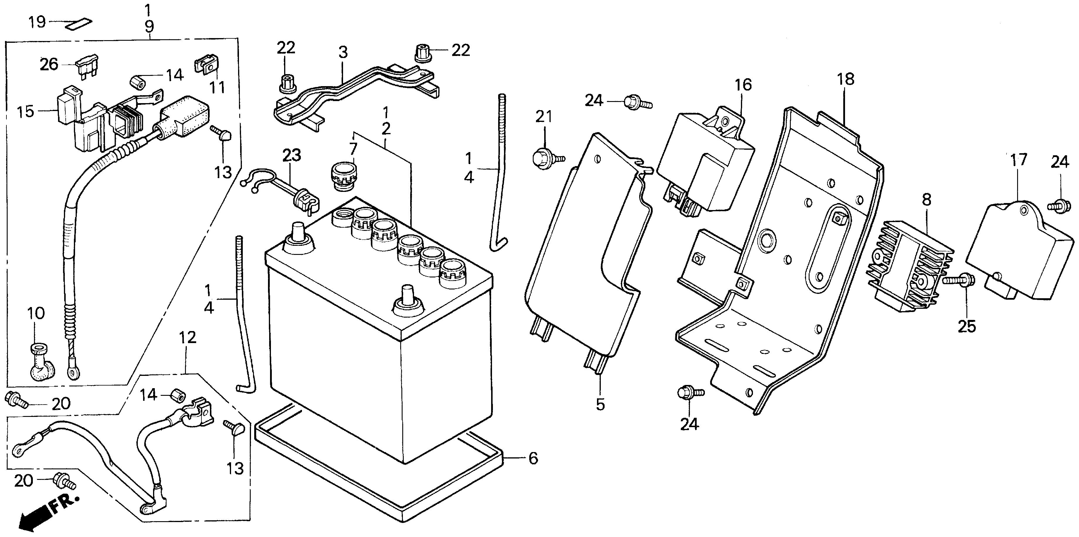
Multi Purpose Tractor RT RT5000 RT5000 A FA2A-5000033-9999999 BATTERY - Xtreme Machines Honda

Ref No
Part Number
Description
Serial Range
Qty
Price

Ref No
1
Part Number
06315-752-730
Description
BATTERY KIT (N/A: SEE COMPONENTS)
Serial Range
1000001 - 9999999

Ref No
2
Part Number
31500-750-013
Description
BATTERY ASSY. (32A19RT-S) (YUASA)
Serial Range
1000001 - 9999999

Ref No
2
Part Number
31500-750-023
Description
BTTRY, MF (34A19RT) (S) (MSDS)
Serial Range
1000001 - 9999999
Qty
Price
$123.59

Ref No
3
Part Number
31512-750-000
Description
PLATE, BATTERY SETTING
Serial Range
1000001 - 9999999
Qty
Price
$25.98

Ref No
4
Part Number
31513-SM4-000
Description
BOLT, BATTERY SETTING (195MM)
Serial Range
1000001 - 9999999
Qty
Price
$11.98

Ref No
4
Part Number
31513-SP0-010
Description
BOLT, BATTERY SETTING (210MM)
Serial Range
1000001 - 9999999
Qty
Price
$11.75

Ref No
5
Part Number
31518-752-000
Description
COVER, ELECTRIC PARTS (NOT AVAILABLE)
Serial Range
1000001 - 9999999

Ref No
6
Part Number
31523-ZA0-800
Description
TRAY, BATTERY
Serial Range
1000001 - 9999999
Qty
Price
$17.80

Ref No
7
Part Number
31542-538-007
Description
PLUG, VENT (YUASA)
Serial Range
1000001 - 9999999
Qty
Price
$12.08

Ref No
8
Part Number
31600-890-951
Description
RECTIFIER ASSY., REGULATOR
Serial Range
1000001 - 9999999

Ref No
9
Part Number
32410-752-630
Description
CABLE ASSY., STARTER (NOT AVAILABLE)
Serial Range
1000001 - 9999999

Ref No
9
Part Number
32410-752-730
Description
CABLE ASSY., STARTER (NOT AVAILABLE)
Serial Range
1000001 - 9999999

Ref No
10
Part Number
32411-230-000
Description
COVER, STARTER MOTOR TERMINAL
Serial Range
1000001 - 9999999
Qty
Price
$9.87

Ref No
11
Part Number
32416-752-000
Description
STOPPER, MAIN FUSE
Serial Range
1000001 - 9999999

Ref No
12
Part Number
32600-752-630
Description
CABLE ASSY., GROUND (NOT AVAILABLE)
Serial Range
1000001 - 9999999

Ref No
13
Part Number
32601-SA5-003
Description
BOLT, BATTERY TERMINAL (SUMITOMO)
Serial Range
1000001 - 9999999
Qty
Price
$13.27

Ref No
13
Part Number
32601-SK7-900
Description
BOLT, BATTERY TERMINAL
Serial Range
1000001 - 9999999
Qty
Price
$13.27

Ref No
14
Part Number
32602-SA5-003
Description
NUT, BATTERY TERMINAL (SUMITOMO)
Serial Range
1000001 - 9999999
Qty
Price
$8.14

Ref No
15
Part Number
38210-751-003
Description
CASE, MAIN FUSE
Serial Range
1000001 - 9999999
Qty
Price
$24.79

Ref No
16
Part Number
38450-752-631
Description
RELAY ASSY., COMBINATION
Serial Range
1000001 - 9999999

Ref No
17
Part Number
38460-752-004
Description
UNIT, FUEL CONTROL
Serial Range
1100330 - 9999999
Qty
Price
$403.33

Ref No
18
Part Number
53225-752-010
Description
BRACKET, ELECTRIC PARTS (NOT AVAILABLE)
Serial Range
1000001 - 9999999

Ref No
19
Part Number
87117-752-630
Description
MARK, MAIN FUSE (ENGLISH) (NOT AVAILABLE)
Serial Range
1000001 - 9999999

Ref No
20
Part Number
90013-883-000
Description
BOLT, FLANGE (6X12) (CT200)
Serial Range
1000001 - 9999999

Ref No
21
Part Number
90111-SM4-003
Description
BOLT, BUMPER
Serial Range
1000001 - 9999999

Ref No
22
Part Number
90304-896-650
Description
NUT, HEX. (6MM) (NOT AVAILABLE)
Serial Range
1000001 - 9999999

Ref No
23
Part Number
91503-752-003
Description
CLAMP, WIRE HARNESS
Serial Range
1000001 - 9999999
Qty
Price
$19.73

Ref No
24
Part Number
95701-06012-08
Description
BOLT, FLANGE (6X12)
Serial Range
1000001 - 9999999
Qty
Price
$2.65

Ref No
25
Part Number
95701-06020-08
Description
BOLT, FLANGE (6X20)
Serial Range
1000001 - 9999999
Qty
Price
$0.72

Ref No
26
Part Number
98200-32000
Description
FUSE, BLADE (20A)
Serial Range
1000001 - 9999999
Qty
Price
$2.24